罐旁显示仪
价 格:询价
产 地:河北更新时间:2025-02-14 10:47
品 牌:其他型 号:
状 态:正常点击量:2255
400-006-7520
联系我时,请说明是在上海非利加实业有限公司上看到的,谢谢!
联 系 人:
上海非利加实业有限公司
电 话:
400-006-7520
传 真:
400-006-7520
配送方式:
上海自提或三方快递
联系我时请说在上海非利加实业有限公司上看到的,谢谢!
产品介绍
GKYWG-60XⅠ罐旁显示仪又叫通用现场远传变送器显示仪,是由河北光科测控设备研制开发出的防爆显示仪表。通过微处理器为核心高集成度电路,准确的计算出现场液位、温度、压力等标准信号的数值并显示出来,可安装在现场或者控制室任何区域,方便安装在现场装置区高温、有毒、易燃的工业现场环境,主要用于石油化工、电力、医药、消防等行业。
产品特点:
防爆壳体设计可以用于各种工业现场(已经通过******防爆认证)
安全等 为SIL3、可以用在各种环境
不需要外加电源,接线方便直接串入4-20mA回路即可实现***测量
液晶显示带绿色背光灯方便在晚上观看数据
实用范围:磁致伸缩液位计、雷达液位计、 体化温度变送器、压力变送器、气体报警器等模拟 量标准信号的仪表
产品参数:
精度:0.1%
线制:两线制
显示方式:液晶显示四位半显示
报警功能:可以设置两个报警点,低于下限或高于上限报警,闪烁显示
修正功能:显示量程及小数点修正功能
环境温度:-40℃ -80℃
防护等 :IP68
防爆标志 : ExdII+H2 T6GB ExdIICT6
过程连接:G1/2 或标准支架
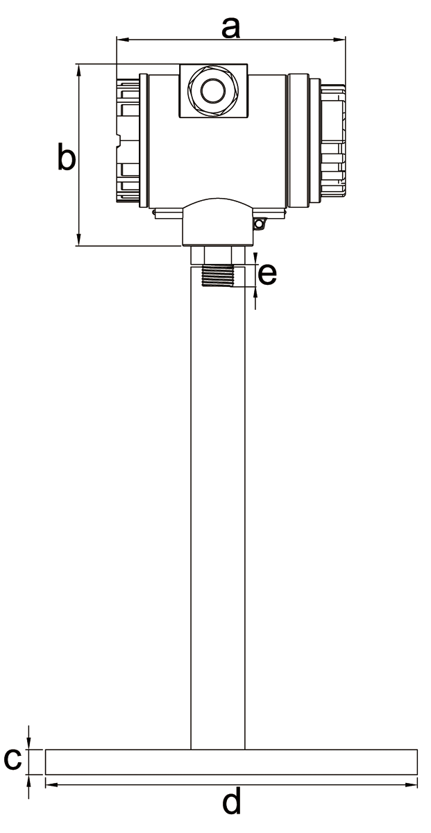
外形安装尺寸
|
GKYWG-60XⅠ
罐旁显示仪
正方尺寸
(图 )
|

|
a=m20×1.5
b=77mm
c=470mm
d=200mm
e=G1/2
|
|
GKYWG-60XⅠ
罐旁显示仪
侧方尺寸
(图二)
|

|
a=100mm
b=125mm
c=5mm
d=200mm
e=G1/2
|
安装示意图
配置表
|
序号
|
名称
|
规格型号
|
数量
|
单位
|
提供方
|
|
1
|
罐旁显示仪
|
GKYWG-60XⅠ
|
1
|
台
|
河北光科
|
|
2
|
罐旁显示仪支架
|
GKYWG-60XⅠ
|
1
|
台
|
选配
|
|
3
|
液位仪
|
ZKYWG
|
1
|
台
|
选配
|
接线示意图
1、箭头1接线4-20mA,进线。
2、箭头2接线4-20mA,出线。
罐旁显示仪选型表
|
GKYWG-60XⅠ罐旁显示仪
|
|
|
代码
|
支架
|
|
A
|
带支架
|
|
B
|
不带支架
|
|
|
代码
|
测量参数
|
|
A
|
液位
|
|
B
|
温度
|
|
C
|
压力
|
|
D
|
其它
|
|
|
销售区域
|
|
|
A
|
内销
|
|
|
B
|
外销
|
|
|
|
代码
|
经办人可不填
|
|
Xxx
|
姓名缩写
|
|
GKYWG-60XⅠ
|
A
|
A
|
A
|
ZL
|
|
实例:GKYWG-60XⅠ罐旁显示仪,A代表,A代表带支架,A代表液位, A代表内销ZL代表销售人员为张亮。