亚德客AirTAC ACQ系列超薄气缸
airtac品牌介绍
1998 年,台亚在同行中率 通过“ISO9000质量管理体系认证”;2004年,台亚取得“ISO14000环境体系认证”及“CE认证”。长期以来,台亚秉持“质量 、交货准时”的服务精神及理念满足客户需求,不断引进 进设备、生产工艺提升产品质量与品质。可靠的质量和稳定的性能,获得了台湾气动产品市场的肯定,台亚生产的“ ”品牌产品的销售额长期位居 。
亚德客***际集团在中***大陆地区拥有62***直销分公司、10***办事处,在 更是有数千***经销商,主要位于欧洲、美洲及亚洲,形成了完善的销售网络和售后服务体系,可随时为客户提供便捷的服务。亚德客充分运用上下游产业整合优势,自主进行原材料、零配件的生产,使零组件自产比例达90%以上,有效缩短生产周期,并投入巨资从德***、日本等地引进各种现代 流的生产装备和制造工艺,以提升生产基地的制造能力,其中又以宁波亚德客与广东亚德客为代表并分述如下,亚德客占地356余亩,总建筑面积14万多平方米,建有19幢标准厂房,作业面积10万多平方米。
“亚德客AirTAC”中***驰名商标的获得,不仅是******和社会对亚德客***际集团多年来品牌建设和维护努力的肯定,更是对亚德客***际集团品牌建设的重大鼓舞,对于加大对亚德客***际集团知识产权的法律保护具有重大意义。亚德客***际集团将以中***驰名商标的获得为契机,进 步加大品牌建设和维护的投入,鉴定走自有品牌建设道路,为社会和广大公众提供更为优质的产品和售后服务。
airtac产品特点
产品特性
1、执行JIS标准;
2、缸体与前、后盖采用C形扣环固定,活塞与活塞杆采用铆合结构,紧凑可靠;
3、缸体内径珩磨处理,耐磨、耐久性好;
4、前盖导向距离加长,导向性能好;
5、紧凑型结构,能有效节省安装空间;
6、缸体周边带有磁感应开关槽,安装感应开关方便;
7、多种规格安装附件可供选择;
产品规格

安装与使用
1、TACQ系列气缸带双导杆,具有止回转功能,使用时务必将气缸固定板不回转精度控制在允许范围内;

2、请严格遵守气缸固定板回转力矩的限制要求,超出限制范围的使用会造成气缸的损坏或使用寿命的缩短;

3、请严格遵守气缸固定板上横向负载的限制范围,超出限制范围的使用会造成气缸的损坏或使用寿命的缩短;

4、请严格遵守负载质量、 大速度的限制范围,超出限制范围的使用会导致过度冲击造成气缸损坏或寿命的缩短;

5、安装时请注意以下事项:
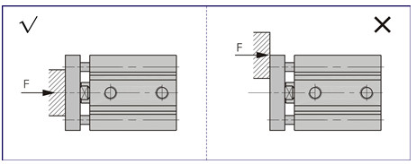
5.1、请勿将手放入固定板与缸体之间的间隙,否则当活塞杆缩回时 有可能对人体造成伤害;

5.2、作用在固定板上的外力尽可能与活塞杆保持同心,以免产生额外力矩而对气缸造成损坏;

5.3、冶具安装于固定板上时,务必在气缸处于缩回状态下进行,且安装力矩不要施加在导杆上;
5.4、安装与使用时避免对活塞杆、导杆等运动部位损伤,否则会导致密封件受损而导致漏气以及动作不良等情况的产生。
订购码

功能符号

airtac型号大全
台湾AIRTAC亚德客 MA25*50-S-CA FA SDB
台湾AIRTAC亚德客 ACQ25*10-B -N
台湾AIRTAC亚德客 SC50*175-S
台湾AIRTAC亚德客 ACQ50*25-B -N
台湾AIRTAC亚德客 ACQS12*90-B -N
台湾AIRTAC亚德客 SC32*200-S
台湾AIRTAC亚德客 3V1-M5
台湾AIRTAC亚德客 ACKD转角气缸
台湾AIRTAC亚德客 二联件
台湾AIRTAC亚德客 SC40*450-S
台湾AIRTAC亚德客 SU200*200-S
台湾AIRTAC亚德客 HSV06
台湾AIRTAC亚德客 SC32*250-S
台湾AIRTAC亚德客 SI160*300-S
台湾AIRTAC亚德客 PTB
台湾AIRTAC亚德客 ACKD32*180-L
台湾AIRTAC亚德客 SU100*75-S
台湾AIRTAC亚德客 2PV250E-25
台湾AIRTAC亚德客 ACQS40*45-B -N
台湾AIRTAC亚德客 SU200*75-S
亚德客AirTAC ACQ系列超薄气缸