小型气象站生产厂家——一款售后有保障工厂自用小型气象站
- 2024-06-20 09:38:42
物联网智能气象监测系统是***个集数据采集、传输、处理和分析于***体的综合性系统。它通过各种传感器和监测设备,实时收集空气温度、湿度、风速风向、降雨量等气象要素的数据,并通过无线传输技术将这些数据发送到中心处理系统。在中心处理系统中,通过高性能计算机对接收到的数据进行处理和分析,形成气象预报和预警信息,为人们的生产生活提供有力的气象保障。
***、产品简介
WX-CQ5小型自动气象站(具备省***CMA证书)是***款集多功能于***体、低功耗、可快速安装、便于野外监测使用的高精度气象观测设备。
该设备由气象传感器,采集器,太阳能供电系统,立杆支架,云平台五部分组成。免调试,可快速布置,广泛运用于气象、农业、林业、环保、海洋、机场、港口、科学考察、校园教育等领域。
二、产品特点
1、低功耗采集器:静态功耗小于50uA
2、标配GPRS联网、支持扩展蓝牙、有线传输
3、7寸安卓触屏,版本:4.4.2、四核Cortex™-A7,512M/4G(选配)
4、支持modbus485传感器扩展
5、太阳能充电管理MPPT自动功率点跟踪
6、三米碳钢支架,两节法兰盘对接
7、短信报警,超限后向指定的手机上发送短信
8、ABS材质防护箱,耐腐蚀、抗氧化,防水等***IP66
三、技术参数
1)采集器供电接口:GX-12-3P插头,输入电压5V,带RS232输出Json数据格式,采集器供电:DC5V±0.5V峰值电流1A,
2)传感器modbus、485接口:GX-12-4P插头,输出供电电压12V/1A,设备配置接口:GX-12-4P插头,输入电压5V
3)太阳能供电、配置铅酸电池,可选配30W 20AH/50W 40AH/100W 100AH.充电控制器:150W,MPPT自动功率点跟踪,效率提高20%
4)数据上传间隔:1分钟-1000分钟可调
5)7寸安卓触屏,屏幕尺寸:1024*600 RGB LCD(选配)
6)部分传感器参数
7)整机取得省***第三方检测报告
8)整机取得中***节能环保产品认证
9)整机取得中***绿色环保产品认证
10)生产企业具有ISO质量管理体系、环境管理体系、职业健康管理体系认证
11)生产企业具有计算机软件注册证书
12)生产企业为3A***信用企业
13)生产企业为五星ji售后服务先进单位
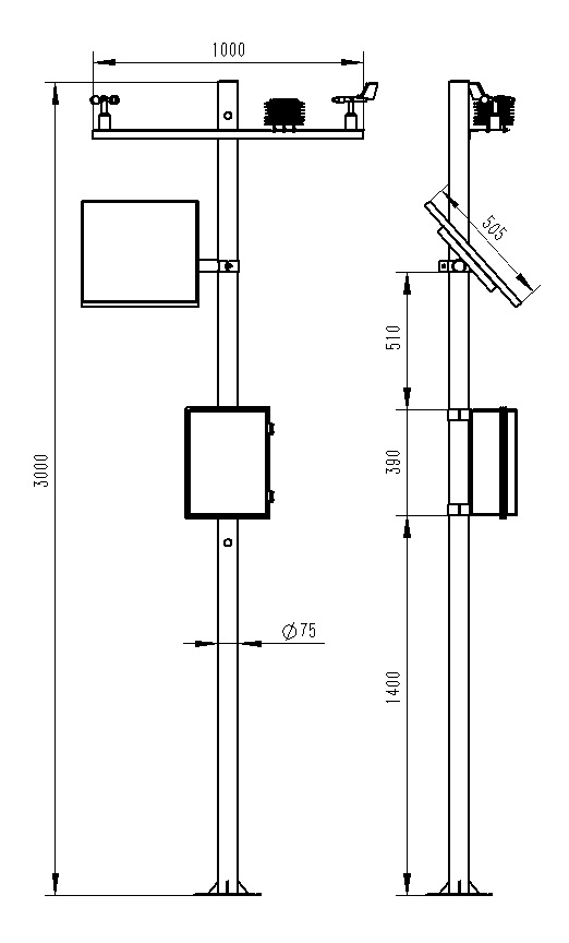
四、产品尺寸图

五、产品结构图

六、上位机软件介绍
1、PC单机版数据接收、存储、查看、分析软件
2、支持串口数据接收、处理、展示
3、支持json字符串、modbus485等通信方式
4、可自设置存储时间,modbus485采集模式下可自设置采集时间
5、支持自助增加、删除、修改监测参数的协议、名称、图标等
6、支持数据后处理功能
7、支持外置运行javascript脚本
七、安卓APP介绍
1、安卓单机版数据接收、存储、查看、分析软件
2、支持蓝牙数据接收
3、手机休眠后软件后台接收、处理
4、json数据自动添加设备,modbus设备支持扫码添加设备
5、支持历史数据查看、分析、导出表格,支持曲线展示、单数据点查看。
6、支持数据后处理功能
7、支持外置运行javascript脚本
八、云平台介绍
1、CS架构软件平台,支持手机、PC浏览器直接观测、无需额外安装软件。
2、支持多帐号、多设备登录
3、支持实时数据展示与历史数据展示仪表板
4、云服务器、云数据存储,稳定可靠,易于扩展,负载均衡。
5、支持短信报警及阈值设置
6、支持地图显示、查看设备信息。
7、支持数据曲线分析
8、支持数据导出表格形式
9、支持数据转发,HJ-212协议,TCP转发,http协议等。
10、支持数据后处理功能
11、支持外置运行javascript脚本
(文章来源于仪器网)
